前提条件
网站域名已经解析到你的服务器上
已经根据上文内容在云服务器上安装好宝塔 Linux 面板并安装本地环境(如 LNMP 或 LAMP);;
已经获取云服务器上的宝塔 Linux 面板登录地址及账号密码。
宝塔创建站点
1、在本地电脑浏览器上输入宝塔 Linux 面板登录地址(PS:没有修改过的情况下一般都是:http://云服务器 IP 地址:8888/安全入口地址),输入用户名和密码后点击【登录】按钮进入后台。如果忘记了可以远程你的服务器在命令行下输入bt 弹出选择框 输入14查看默认的登入信息)

2、登入宝塔web面板后选择网站点击进去选择添加站点,输入网站域名 站长推荐单独数据库为安全着想 FTP可以创建也可以不创建如果为了后期方便管理可以选择创建,PHP建议用5.6以上,WordPress新版最低支持5.6,然后点击提交创建站点

3、稍等片刻,站点,管理的FTP和单独的数据库账号密码和库就创建好了 记录下,稍后安装程序的时候需要用到

下载WordPress并上传到刚刚创建好的站点
4、WordPress下载地址https://cn.wordpress.org/download/ 可以访问这个官网下载简体中文最新的版本,如需其他语言的可以访问wordpress.org去下载全部语言版本
5、点击宝塔面板的文件管理功能找到刚创建好的站点目录点击上传选择刚下载的WordPress然后点击上传如下图

6、找到刚上传的WordPress然后点击解压按钮弹出解压框

7、选择解压路径默认是站点目录下,点击解压

8、删除没用的文件然后wordpress下的文件移动到根目录下

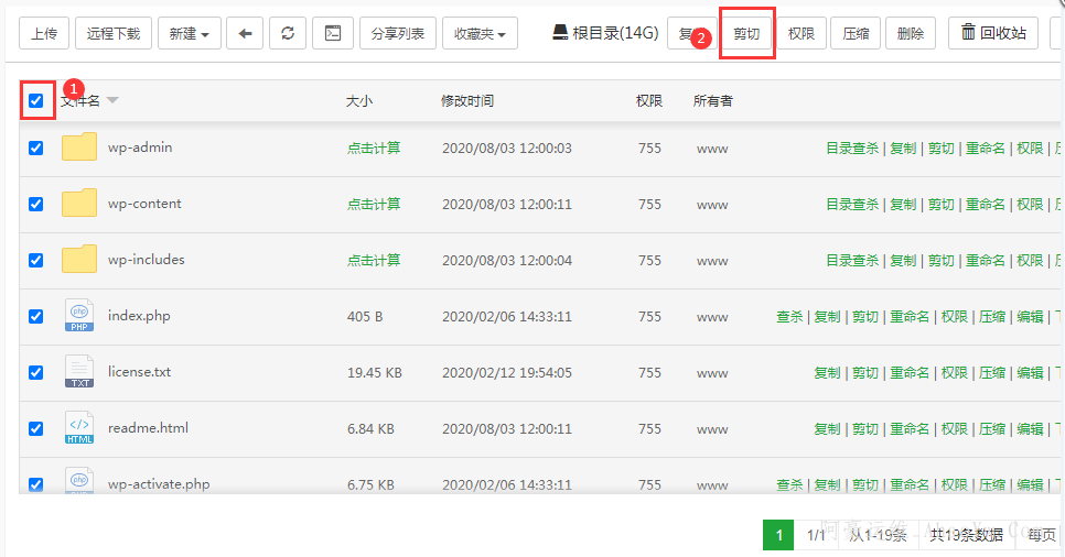
9、进入到wordpress目录下点击步骤1全选,然后选择2剪切,会提示标记成功,请在目标目录点击粘贴所有按钮!,然后到站点根目录下粘贴

10、选择站点根目录然后粘贴刚刚剪切的所以文件,最后删除wordpress这个空目录,删除方法可以参考第8步

安装初始化WordPress
11、打开本地电脑浏览器访问刚刚创建的站点域名如test.ahaoyw.com打开如下,点击开始安装

12. 输入第 3 步中所获得的的数据库名称、用户名和密码,数据库主机默认即可(localhost为本机的意思),表前缀默认是 wp_ 建议修改成其他的如 ayw_,确实无误后点击【提交】按钮并点击【现在安装】按钮。


13. 输入站点名称如宝塔WordPress演示站,输入站点后台的用户名和密码(不要使用弱密码),输入站点管理员的邮箱地址;至于“对搜索引擎的可见性”选项,如果是新站尚未准备好让搜索引擎收录建议勾选,等准备好后登录后台 -> 设置中取消勾选即可。当然,如果已经准备好就不要勾选。最后确认无误后点击【安装 WordPress】按钮。

至此,我们已经成功通过宝塔 Linux 面板建立了一个 WordPress 站点,点击【登录】按钮即可登录到 WordPress 站点后台进行设置。

站长一些建议
由于 WordPress 是国外程序,默认的主题也是国外的主题,由于特殊原因使用国外主题会导致站点打开缓慢,这也是为什么很多人都在抱怨说WordPress打开慢的原因,所以站长建议大家使用国内的WordPress主题,一般都会进行一定程度的优化,可以让WordPress后台打开速度快一些,如免费主题 JieStyle-Two或收费主题Begin主题。若不懂得换主题可以参考WordPress教程之主题使用篇。

