当需要查询一个域名的注册商?何时注册?域名状态?使用的DNS?到期时间?要如何查询呢?我们可以通过whois来查询域名的相关信息,下面站长跟大家分享下如何通过WHOIS查询域名的相关信息
访问以下其中一个WHOIS网站页面,输入待查询域名后进行查询,即可查询域名相关信息
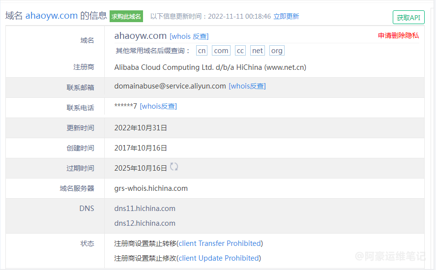
查询的信息例如到期时间不对,可以点击立即更新按钮更新缓存

域名相关信息说明
所有者联系邮箱
应ICANN临时政策与GDPR合规要求WHOIS信息公开查询结果中已不再显示域名注册者的个人信息,有需要可以联系域名注册商去咨询。
注册商
域名当前的注册商,域名注册后可以转移注册商的,例如当前 ahaoyw.com 的注册商是 Alibaba Cloud Computing Ltd. d/b/a HiChina (www.net.cn)。
注册日期
查询的域名是什么注册的。
到期时间
查询的域名到期日期时间,为了保证域名正常运行访问,到期前要提前续费,到期后有的域名(Whois查询出来会多一年,这个是因为有的域名注册商为了保护域名增加了一年年限保护),到期时间仅供参考。
域名状态
域名状态与域名的某些安全配置相关,例如如果域名配置为禁止转移、禁止删除,则查询后域名状态即为“注册商设置禁止删除、注册商设置禁止转移”。此外域名在注册、过期等不同阶段,状态呈现结果也不一样 具体请参见WHOIS查询参考:域名状态的含义,查询并了解域名状态的具体含义。 。
DNS服务器
显示域名当前的解析服务器,例如 DNS11.HICHINA.COM/ DNS12.HICHINA.COM

