最近演示站点准备更换服务器所以索性写个ZblogPHP如何备份迁移到新服务器,教程很简单,适合新手小白,老司机请绕行~~~
操作步骤
说明:Windows和Linux备份方式基本是一样的,只是Windows有图形界面操作会更加习惯,演示站采用的是Linux系统+宝塔面板。
1、安装Zblogphp需要运行的环境可以编译安装或者宝塔面板安装环境
2、首先登入宝塔面板,找到左侧的 文件 点击进去 >> 进入以后找到右侧需要备份的站点文件夹勾选(例如演示站点demo.ahaoyw.com),然后点击右侧压缩功能压缩如下图

3、系统会提示,压缩目录,默认即可,点击压缩

4、稍等片刻,压缩时间根据网站数据大小来决定,等待压缩完成即可,完成后就能看到刚刚压缩的文件,然后右侧的 更多 >> 点击下载如下图

5、网站数据到此就备份完成啦,接下来我们来备份网站的数据库,找到左侧菜单栏的 数据库 点击进去找到你网站的数据库名(如果不知道是哪个可以查询网站程序中的/zb_users/c_option.php配置文件ZC_MYSQL_NAME字段),然后点击右侧的管理

6、点击管理后会弹出一个新的窗口phpmyadmin管理页面,找到对应数据库,然后点击,查看右上方的导出按钮开始备份数据库

7、这一步不需要选什么,默认选项即可,点击执行会弹出下载框下载到本地(建议和刚刚下载的网站程序放在同一个目录以免找不到),如图

到目前为此网站已经都备份完成并下载到本地了,接下来我们要做的就是把本地的数据上传到新的服务器(网站空间)
说明:上传方法有很多种可以使用FTP 或者其他方式上传这边就不做详细介绍)
8、上传网站程序到新服务器(空间),然后点击左侧菜单栏的文件,找到新的网站目录,点击进去就可以看到给刚刚新上传的压缩包,选中压缩包点击右侧的解压按钮 进行解压,提交解压后稍等片刻~~

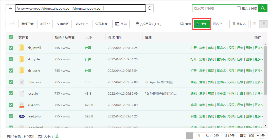
9、解压后会在网站根目录多一个文件夹出来,我们点击多出来的文件夹进去,勾选全部文件然后点击剪贴

10、返回上一级网站根目录(例如/www/wwwroot/demo.ahaoyw.com),点击粘贴

11、剪贴到根目录后,删除刚刚解压出来的那个文件夹

至此网站程序数据已经还原到新的空间下了,接下来我们需要操作数据库还原
12、点击左侧菜单栏的数据库功能,找到对应要导入的数据库例如(demo.ahaoyw.com),然后点击管理跳转到phpMyAdmin管理界面

13、在phpMyAdmin管理界面点击对应的数据库进去,然后点击顶部导航栏的导入按钮

因为是新建立的数据库,所以应该跟图片一样,显示“数据库中没有表”然后点击导入按钮(如果数据库有表?这个时候要注意了是不是点击错误数据库了,如果没错那也好办全部删除即可,谨慎,不确定是否有用就先备份以下,如何备份原理同上)
14、点击选择文件弹出对话框,找到前面备份导出到本地电脑的数据库备份。点击确定

15、上面文件字符集什么的默认就好了,然后往下拉,点击执行按钮执行导入,稍等片刻就完成啦

16、到这里网站程序和数据库就已经还原到新的服务器上了,你以为真的就能打开网站了嘛?不不你太天真了,看到下面这个报错截图没,如图这个是因为程序无法连接数据库,因为程序数据库配置文件里面的连接信息错误

说明:也许你你会觉得为啥迁移之前都可以打开鸭,为什么迁移后就提示数据库链接失败呢?这个是因为您新服务器这边创建的连接地址、数据库、账号、密码和您在原来服务器上使用的信息不一致,所以我们需要执行如下操作进行修改
17、找到网站目录下的/zb_users/c_option.php文件,右键编辑(不要用记事本打开所有php文件,可以使用EditPlus)

修改图片中的数据库的相关配置文件
'ZC_MYSQL_SERVER' => 'localhost', //数据库链接地址 'ZC_MYSQL_USERNAME' => 'demo_ahaoyw_com', //数据库链接账号 'ZC_MYSQL_PASSWORD' => 'A123456', //数据库链接密码 'ZC_MYSQL_NAME' => 'demo_ahaoyw_com', //数据库名
修改数据库地址,一般数据库和网站同台服务器直接填写 localhost 就行,剩下的就填写自己的数据库用户,密码及数据库名就行,修改之后保存。不知道数据库账号密码的,点击宝塔面板左侧数据库,然后你就看见了。
修改完后刷新网站,是不是可以访问了,教程就这么简单,可能啰嗦了点。主要是给小白一些参考,前面已经说过了,老司机请绕行~~~

